全国服务热线

VB-7000系列法兰阀调节阀用于空调通风、热处理厂的工业和工厂流体控制。
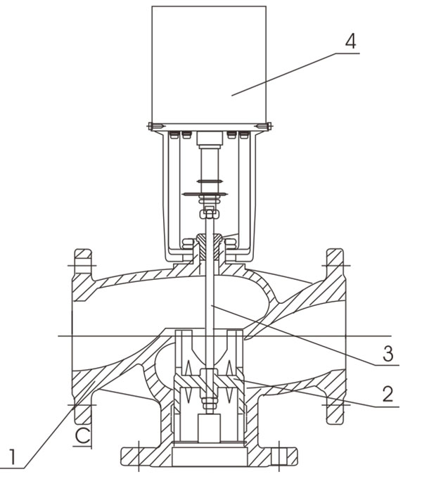
VB-7000系列法兰阀调节阀包括阀体、阀盖、阀瓣、阀杆、轴封、密封件。

1、按阀体显示的流动方向安装。
2、安装阀前应保证管道清洁、没有焊接时留下的氧化物。
3、管道与阀体相连接时必须完全吻合。并不受振动。
4、用高温流体(如蒸汽、过热的水、透热液体)作业的工厂,安装时应使用伸缩接头,以避免管道膨胀,挤压阀体。
5、驱动器垂直安装在阀体之上、避免驱动器装在阀的下面。
6、需留出足够的空间以便8常维护时,从阀体上拆卸驱动器。
7、阀不能安装有于爆及环境温度高于50C和低于-5C的环境中,也不能置于蒸汽、水力喷射或滴漏处。
介质:热冷水、50%乙二醇、蒸汽
介质温度: 2-120℃
公称压力PN: 1 600KPa
流量特性:等百分比或线性
渗漏量: Kv值的0.05%
1、阀体、阀座:球墨铸铁
2、阀瓣:黄铜
3、阀杆:不锈钢
4、执行器